時間:2020-02-03 16:36:10來源:本站整理作者:xl點擊:
為了預防新型冠狀病毒疫情的擴散,避免交叉感染,很多城市發布了關于暫停限號的措施,那么,哪些城市暫停限號呢?下面八寶網小編就來說說。

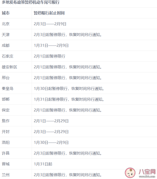
為防止新型肺炎疫情擴散,減少人員聚集和交叉感染,阻斷疫情傳播,北京、天津、石家莊、成都、雄安新區、邢臺、秦皇島、邯鄲、保定、焦作、開封、洛陽、許昌、晉城、蘭州等15城發布了暫停機動車尾號限行的措施。

1、限行車輛是可以開上高速的,因為高速上不限行。但是由于市區限行,因此不能走市區道路上高速。
2、如果想要將限行車輛開上高速,可以通過繞城高速實現,因此各位司機不用擔心,可以提前進行了解。為了節約開車上路的時間,盡可能避免在限行之日開車上高速。
3、在我們日常生活中,并不是所有的車輛都受到限行制度的限制。以下車輛不受限:
(1)執行任務的消防車、救護車、工程救險車;
(2)公交車、出租汽車(不含租賃車輛)、新能源汽車、省際長途客運車輛及大型客車、郵政專用車、持有交通運輸管理部門核發的旅游客車營運證件的車輛、學校校車;
(3)噴涂統一標識并執行任務的行政執法車輛和清障專用車輛;
(4)園林、道路養護的專項作業車輛,殯儀館的殯葬車輛;
(5)“使”、“領”字頭號牌車輛及經批準臨時入境的車輛。

1、打開微信,進入公眾號查找,搜索“車輛限號”。
2、公眾號“城市限行限號查詢”,點擊關注公眾號。
3、在輸入框輸入查詢的城市名稱,即可查詢到限號政策。以“北京市”為例,回復“北京”。
上面所說的只是一個通常的方法,手機上查詢限號其實有很多方法,基本在你搜哪個城市的限號都能夠出來,非常的方便。
限行限號查詢方法:
限號出行之電話查詢
可以通過國家專業的查詢電話號碼114進行相關查詢,主要是通過向客服詢問相關限號出行管理部門的電話號碼,然后進行撥打相關號碼進行詢問。如果一直就知道相關部門電話就直接撥打查詢吧!
限號出行之交通管理局網站
因為每個城市的規定不同,在查詢的過程中要選擇車牌相應城市的交通管理局網站進行登錄查詢。查詢時要記住,一般是違章7天后相關數據才顯示在網站上。這種方法也是最直觀最為準確的。
限號出行之手機違章軟件
隨著手機時代的發展,很多相應的文章APP也出現于手機中。我們對應車牌城市的選擇進行相應的查詢,這種方法的其實也是很準確的一種,主要還是方便是最大的優點。
限號出行之交通管理局
可以去相應車牌城市的交通管理局詢問違章情況,這種方法是最為直觀的,但是時間的消耗是讓人頭疼的問題。這種方法車主可以看到自己駕駛這段時間所以違章的情況,罰款和教育齊頭并進的想你走來。
以上就是有關哪些城市暫停限號,城市暫停限號名單介紹,想了解更多信息請繼續關注。
網友跟帖
Copyright 2015-2020 8bb.com 〖八寶網〗 版權所有 鄂ICP備19016373號-1
聲明: 本站文章均來自互聯網,不代表本站觀點 如有異議 請與本站聯系 本站為非贏利性網站 不接受任何贊助和廣告
網友評論僅供其表達個人看法,并不表明八寶網立場。